2.8
Výpočet účinků zkratových proudů
2.8.1
Dynamické účinky zkratových proudů na tuhé vodiče
Budeme uvažovat přípojnice v rozvodně, které jsou podepřené podpěrami, viz obr. 15. Fotografii z rozvodny si lze prohlédnout na obr. 18.
Obr. 15. Schéma uspořádání přípojnic s podpěrami
Pro vyhodnocení odolnosti proti zkratovým silám u tuhých vodičů se nejprve spočítá vrcholová síla mezi dvěma vodiči Fm:
[N], kde
ip je maximální hodnota zkratového proudu (nárazový zkratový proud) [A],
l je osová vzdálenost mezi sousedními podpěrami [m],
μ0 je permeabilita vakua, μ0 = 4π.10-7 H/m,
am je účinná vzdálenost mezi hlavními vodiči, která respektuje tvar vodiče (průřezu) [m]:
- hlavní vodiče tvořené jedním vodičem kruhového průřezu: am = a (vzdálenost mezi fázovými vodiči),
- obdélníkový průřez: , k12 lze určit dle tvaru a rozměrů vodičů z normy [5].
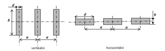
Ohybové namáhání vodičů vyvolané silami mezi vodiči (ohybové napětí) bude u přípojnic obdélníkového průřezu záviset nejenom na síle mezi vodiči, ale též na tom, zda je průřez přípojnic uspořádán vertikálně, nebo horizontálně, viz obr. 16. Vodiče musí být upevněny tak, aby byly zanedbatelné osové síly.
Obr. 16. Vertikální a horizontální uspořádání přípojnic
Ohybové napětí určíme ze vztahu:
[Pa], kde
Vσ, Vr jsou součinitelé respektující dynamické působení (pro trojfázový zkrat je Vσ .Vr = 1),
β je součinitel závislý na typu a počtu podpěr, pro dvě a více rozpětí je roven 0,73, pro jiná uspořádání jsou hodnoty v normě [5],
Wm je průřezový modul, který se určí se z tvaru a rozměrů vodiče dle obr. 17.
Obr. 17. Výpočet průřezového modulu
Přípojnice jsou odolné proti zkratové síle, jestliže je splněna podmínka:
[Pa], kde
Rp0,2 je minimální hodnota meze průtažnosti materiálu vodiče, která musí být zadána (např. pro Al je rovna 40 MPa),
q je součinitel dle tvaru vodiče (přípojnice):
- obdélníkový průřez: q = 1,5
- kruhový průřez: q = 1,7
Pokud by se nejednalo o jednoduché, ale o složené vodiče, musela by se jednotlivá namáhání sčítat a porovnávali bychom pak ne jenom σm, ale součet namáhání σtot (celkové namáhání).
Ohybové síly působí nejen na vodiče, ale též na podpěry, výpočet opět udává norma [5]. Stejně tak v ní lze nalézt podrobné výpočty tahových sil a výpočty pro uspořádání s ohebnými vodiči.
Obr. 18. Přípojnice v rozvodně Praha Malešice
2.8.2
Tepelné účinky zkratových proudů na holé vodiče
Vlivem vysokých zkratových proudů dochází k nadměrnému oteplování vodičů. Oteplení vodičů způsobené zkratovými proudy v sobě zahrnuje několik složitých jevů nelineárního charakteru. Pro posouzení tepelných účinků zkratu potřebujeme znát též dobu zkratu Tk. Dále učiníme několik zjednodušení:
- zanedbáme skinefekt (vliv magnetického pole vlastního vodiče) a proximityefekt (vliv magnetického pole blízkých rovnoběžných vodičů);
- závislost odporu na teplotě je lineární;
- měrné teplo vodiče je konstantní;
- ohřev je adiabatický (nedochází k tepelné výměně s okolím).
Oteplení vodiče způsobené zkratem závisí na ekvivalentním oteplovacím proudu, době zkratu a materiálu vodiče. Vypočteme ekvivalentní oteplovací proud Ith, viz kap. 2.6.7. Spočítáme velikost proudové hustoty
[A/m2], kde
A je průřez vodiče (přípojnice) [m2].
Určíme hustotu jmenovitého krátkodobého výdržného proudu podle rovnice:
[A/m2], kde
ϑb je teplota na počátku zkratu, též nejvyšší dovolená provozní teplota [ºC],
ϑe je teplota na konci zkratu, též doporučená nejvyšší teplota vodiče při zkratu [ºC],
Tk je doba zkratu [s],
κ20 je měrná elektrická vodivost při 20 ºC [Sm-1],
α20 je teplotní součinitel odporu [K-1],
ρ je hustota [kgm-3].
Hodnoty konstant a činitelů pro různé materiály přípojnic jsou uvedeny v tab. 7.
Tabulka 7. Hodnoty konstant a činitelů pro různé materiály přípojnic pro výpočet tepelných účinků zkratových proudů
Měď | Hliník, slitina hliníku, lano AlFe | Ocel | |
κ20 [Sm-1] | 56.106 | 34,8.106 | 7,25.106 |
α20 [K-1] | 0,0039 | 0,004 | 0,0045 |
c [J kg-1K-1] | 390 | 910 | 480 |
ρ [kgm-3] | 8 900 | 2 700 | 7 850 |
ϑb [°C] | 80 | 80 | 80 |
ϑe [ºC] | 200 | 200 | 300 |
Holé vodiče mají potřebnou tepelnou odolnost, jestliže je splněna podmínka:
[A/m2], kde
Sth je hustota ekvivalentního oteplovacího proudu [A/m2],
Tkr je jmenovitá doba zkratu (1 s),
Tk je skutečná doba zkratu [s],
Sthr je hustota jmenovitého krátkodobého výdržného proudu [A/m2].
2.8.3
Příklad na výpočet účinků zkratových proudů
Příklad
Příklad 3: Posouzení účinků zkratových proudů
Zadání: Posuďte dynamické a tepelné účinky zkratových proudů na přípojnice v rozvodně 22 kV při třífázovém zkratu pro uložení vodičů horizontálně i vertikálně dle obr. 16.
Zkratové proudy Ik´´ = 40 kA, ip = 90 kA, doba zkratu Tk = 1 s.
Přípojnice tvoří pásové vodiče ze slitiny AlMgSi0,5 s rozměry 10 x 63 mm. Vzdálenost podpěr l = 1 m, počet rozpětí je větší než 3, osová vzdálenost mezi fázovými vodiči a = 50 cm, součinitel k12 = 1. Minimální hodnota meze průtažnosti je 120 MPa.
Zobrazit řešení
Řešení
Tepelné namáhání:
Nejprve provedeme ověření pro tepelné účinky, protože ty budou stejné v horizontálním i vertikálním uspořádání.
Spočítáme hustotu jmenovitého výdržného krátkodobého proudu (hodnoty příslušných činitelů a konstant vezmeme z tab. 7.
A/m2.
Spočítáme ekvivalentní oteplovací proud, předpokládáme m + n = 1.
A.
Hustota tohoto proudu bude
A/m2.
Porovnáme
.
Platí, že
, což znamená, že dané přípojnice vyhovují tepelnému namáhání při zadaném zkratu.
Dynamické namáhání při vertikálním uspořádání:
Při vertikálním uspořádání bude b = 63 mm, d = 10 mm.
Spočítáme průřezový modul
m3.
Síla mezi vodiči bude
N.
Ohybové namáhání
Pa.
Pro obdélníkový průřez je činitel q = 1,5, tudíž
MPa.
Porovnáme výsledky dle vztahu
.
243,85 MPa > 180 MPa, takže je vidět, že dané přípojnice ve vertikálním uspořádání nevyhovují při dynamických účincích zkratu.
Dynamické namáhání při horizontálním uspořádání:
Při vertikálním uspořádání bude b = 10 mm, d = 63 mm.
Spočítáme průřezový modul
m3.
Síla mezi vodiči bude
N.
Ohybové namáhání
Pa.
Pro obdélníkový průřez je činitel q = 1,5, tudíž
MPa.
Porovnáme výsledky dle vztahu
.
38,71 MPa < 180 MPa, takže je zřejmé, že v horizontálním uspořádání vodiče vyhoví dynamickým účinkům zkratových proudů.
Na tomto příkladu jsme si demonstrovali, že i uspořádání přípojnic má vliv na účinky zkratových proudů.


